9月20日,新宜康自主研发的MeFree技术再次赢得了行业内备受推崇的金叶奖。这是当前首款,也是唯一不含金属、发热均匀的导电陶瓷发热技术。
Innokin的无金属导电陶瓷雾化芯,无缝融合了非金属成分与陶瓷材料,解决了传统雾化芯加热不均以及有害金属潜在性释放的问题,具有卓越的稳定性和抗侵蚀性,加热更均匀、更高效。

Innokin的导电陶瓷雾化芯技术代表了电子烟行业的一次思维转变,为性能、安全性和口味纯度设定了新的标准。
Innokin导电陶瓷雾化芯技术相关专利
发热组件、雾化芯、雾化器及电子雾化装置
CN219613084U 彭争战 深圳市新宜康科技股份有限公司
Priority 2023-03-20 ? Filed 2023-03-20 ? Granted 2023-09-01 ? Published 2023-09-01
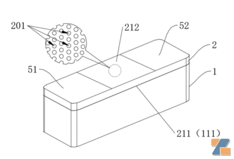
本实用新型公开了一种发热组件、雾化芯、雾化器及电子雾化装置,其中,发热组件包括致密导电陶瓷发热体,致密导电陶瓷发热体的表面上分布有多个间隔设置的第一通孔,且各个第一通孔的孔径为0.01mm~1.5mm。本实用新型公开的发热组件能够解决现有技术中利用金属发热体加热雾化液所带来的用户吸食口感差的技术问题。

雾化芯、雾化器及电子雾化装置
CN219613085U 崔涛 深圳市新宜康科技股份有限公司
Priority 2023-03-20 ? Filed 2023-03-20 ? Granted 2023-09-01 ? Published 2023-09-01
本实用新型公开了一种雾化芯、雾化器及电子雾化装置,其中,雾化芯包括由致密导电陶瓷材料制成的发热体以及具有雾化表面的导液体,发热体的表面上分布有多个间隔设置的通气孔,且发热体设有多个通气孔的其中一个表面与雾化表面相接触。本实用新型公开的雾化芯能够提升用户的吸食口感。

来源:综合整理自新宜康、patents.google等


加州地方法院驳回NJOY针对多个
英美烟草公司宣布Glo Hyper Pr
中国品牌Vaporesso,在2023年
JUUL向美国奥西奥拉县支付13万
PMI全球化策略加速 IQOS进军多
英美烟草韩国公司倡导环保 通
雾话
年复合增长率逾5% 多个品牌推